欢迎来到湖南AG旗舰厅电源有限公司!

其他电源

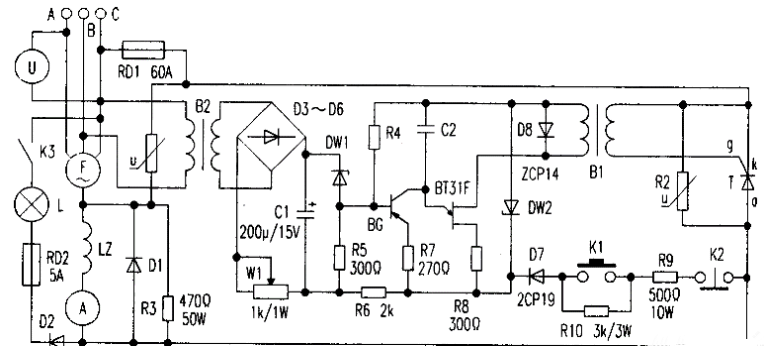
什么是励磁装置

  • 发布时间:2024-06-12
  • 发布者:管理员
  • 来源:本站
  • 阅读量:

励磁系统给同步发电机提供励磁电流的电源及附属设备

它一般由励磁功率单元和励磁调节器两个主要部分组成。励磁功率单元向同步发电机转子提供励磁电流;而励磁调节器则根据输入信号和给定的调节准则控制励磁功率单元的输出。

励磁系统的自动励磁调节器对提高电力系统并联机组的稳定性具有相当大的作用。尤其是现代电力系统的发展导致机组稳定极限降低的趋势,也促使励磁技术不断发展。

根据我国国家标准GB /T7409.1-2008“同步电机励磁系统”的规定的定义,同步电机励磁系统是“提供同步电机磁场电流的装置,包括所有调节与控制元件、励磁功率单元、磁场过电压抑制和灭磁装置以及其它保护装置。”

系统图.png

励磁功率单元向同步发电机转子提供励磁电流;而励磁调节器则根据输入信号和给定的调节准则控制励磁功率单元的输出。

励磁系统是电站设备中不可缺少的部分:

励磁系统包括励磁电源和励磁装置,其中励磁电源的主体是励磁机或励磁变压器;励磁装置则根据不同的规格、型号和使用要求,分别由调节屏、控制屏、灭磁屏和整流屏几部分组合而成。

励磁装置的使用:

是当电力系统正常工作的情况下,维持同步发电机机端电压于一给定的水平上,同时,还具有强行增磁、减磁和灭磁功能。对于采用励磁变压器作为励磁电源的还具有整流功能。励磁装置可以单独提供,亦可作为发电设备配套供应。

励磁屏



15111-301-302
版权所有:Copyright @copy; 2021 湖南AG旗舰厅电源有限公司 , All Rights Reserved
备案号:湘ICP备2021020046号-1
技术支持:麦桃科技

联系AG旗舰厅

湖南AG旗舰厅电源有限公司
电话:15111-301-302
电话:0731-88990506
传真:0731-88990506 地址:长沙桐梓坡西路国家高新区麓谷国际工业园A4栋

扫描二维码

扫一扫

在线咨询

15111-301-302

手机官网

免责声明:本站支持广告法相关规定, 且已竭力规避使用“极限化违禁词",如不慎出现仅代本站范围内对比,不支持以任何"违禁词”为借口举报我司违反《广告法》的变相勒索行为! 本站部分素材来源互联网,以传播信息为目的进行转载,如涉及版权请直接与客服联系,AG旗舰厅将及时更正删除,谢谢。